中國粉體網訊 隨著現代技術的發展,應用行業對超細粉體提出了越來越高的要求,不僅要求粒度超細,而且粒徑分布要窄。因此在粉體制備過程中,往往需要將固體顆粒在流體中按其粒徑大小進行分級。隨著所需粉體細度的提高和產量的增加,分級技術的難度也越來越高,粉體分級已成為制約粉體技術發展的制約粉體技術發展的關鍵,因此,對超細粉體分級技術與設備的研究是十分必要的。
干式超細粉體分級
超細粉體分級的方法多種多樣,根據分級力場的不同分為重力場分級、離心力場分級、慣性力場分級、電場力分級、磁場力分級、熱梯度力場分級以及色譜分級等;按被分物料狀態的不同可分為干式超細分級和濕式超細分級。目前超細分級設備和工藝的研究開發主流是干式超細分級。
干式超細分級多為氣力分級,適用于干法微米級產品的精細分級。根據干式分級的原理不同,目前工業上應用的干式超細分級設備主要有離心式和慣性式。

干法超細分級設備分類
干式超細分級設備的種類及主要性能

部分干式超細分級機結構原理圖
1.慣性分級機
顆粒運動時具有一定的動能,運動速度相同時,質量大的其動能也大,即運動慣性大。當它們受到改變其運動方向的作用力時,由于慣性的不同會形成不同的軌跡,從而實現大小顆粒的分級。

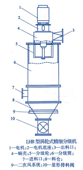
2.LHB型氣流分級機

LHB型氣流分級機與球磨機超細機械沖擊磨、氣流粉碎機等配套或單獨設置,已廣泛應用于煅燒高嶺土、滑石、重鈣、重晶石、云母、氧化鋁、氧化鋯、氧化鎂、碳化硅、鈷酸鋰等粉體的精細分級。
標準工藝流程圖:

3.WFJ超細分級機

WFJ型分級機與球磨機、超細機械沖擊磨、氣流粉碎機等配套或單獨設置。已廣泛應用于滑石、重鈣、高嶺土、氧化鋁、氧化鎂以及化工原料等粉體的精細分級。
標準工藝流程圖:

4.MS、MSS微粉分級機

MS型分級機

MSS型分級機
MS型和MSS型微細分級機常用于與高速機械沖擊式磨機、球磨機等配套使用構成內閉路超細粉碎作業,以提高粉碎作業效率、控制產品細度和粒度分布。這種分級機在非金屬礦物超細粉體材料的加工中得到了廣泛應用。
標準工藝流程圖:

5.FYW型分級機

FYW型分級機與超細粉碎機等配套或單獨設置,廣泛應用于重鈣、滑石、云母、高嶺土、氧化鋁、氧化鎂以及化工原料等粉體的精細分級。
標準工藝流程圖:

6.HTC渦輪分級機

HTC渦輪分級機與球磨機、超細機械沖擊磨、氣流粉碎機等配套或單獨設置,已應用于重鈣、滑石、高嶺土、氧化鋁、氧化鋅以及化工原料、食品等粉體的精細分級。
標準工藝流程圖:

7.ATP型超微細分級機


ATP型超微細分級機常用于與流態化床對噴式氣流粉碎機、高速機械沖擊式磨機、球磨機等配套使用或與流態化床對噴式氣流粉碎機及高速機械沖擊式磨機做成一體,構成內閉路超細粉碎作業,以提高粉碎效率、控制產品細度和粒度分布。
8.射流分級機
射流分級機是集慣性分級、迅速分級和微細顆粒的附壁效應(Coanda效應)等原理于一身而進行超細分級的分級設備。

射流分級機分級后可獲得至少三級產品,個級產品的粒度可通過改變分級刀刃4/5的角度來調節。另外,控制粗、中、微粒出口的空氣抽吸壓力也可在一定范圍內調節各級粉體的粒度。
















