中國粉體網訊  隨著近年來非金屬礦資源的迅速發展,對非金屬礦質量要求越來越高。對于大多數非金屬礦產品而言,含鐵元素雜質是其中最主要也是最有害的成分,直接影響非金屬礦的產品質量等級。在一些行業如石英玻璃、耐火材料和陶瓷原料等諸多領域,對金屬礦進行除鐵提純已經成為非金屬礦選礦中重要的工藝步驟。
非金屬礦中鐵元素的鐵分為兩種,即混入機械鐵和礦物本身所含有的強磁及弱磁性鐵礦物。強磁性雜質比較容易去除,采用弱磁選設備即可實現,但是,其中的弱銑型雜質由于磁性弱。含量少、粒度細常規設備難以去除,需要一種高分選精度、高磁場強度和高磁場梯度的磁選設備進行選別。
高純石英砂是SiO2含量高于99.99%的石英粉體,是石英玻璃、石英坩堝和集成電路塑封料的主要原材料,廣泛應用于大規模及超大規模集成電路、太陽能電池板、航天、軍事等行業中。
石英在結晶過程中常摻雜微量的雜質,包括晶體間隙的脈石礦物、包裹體和晶格雜質3種類型。不同雜質元素對石英性能的影響不同,如Al影響石英中的光傳導速率,Fe、Mn等金屬元素降低石英的光透過率,P和B含量過高的石英不能用于光伏產業,因此在生產高純石英時,必須對原料礦石進行提純,盡可能降低Al、K、Na、Li、Ca、Mg、Fe、Mn、Cu、Cr、Ni、B、P等雜質的含量。
一般而言,石英原料礦石需要經過研磨、分級、重選、磁選、浮選、酸浸、高溫氯化焙燒等工序,逐次去除石英晶體中的包裹體、脈石礦物,盡可能地降低雜質的含量,提高SiO2的純度,最終才能制得滿足不同行業質量要求的高純石英砂。
高純石英砂礦中除去石英外,還伴隨著長石、云母及含鐵礦物等雜質,必須通過浮選或者磁選方法去除這些雜質來提高高純石英砂純度等級。
 
高純石英砂選礦流程圖
干式強磁選機設備強度高,磁場梯度大,對于-2mm以下細粒級非金屬礦物的分選效果好。
工作原理
干式強磁選機在工作時,電磁輥產生產生磁通,由于感應輥的聚磁作用,在分選空間內產生高場強。隨著電磁輥轉動,非磁性物料直接通過下落,磁性物料則被電磁輥帶至非磁場區,最終被毛刷掃落,完成分選過程。
 
分選原理圖1

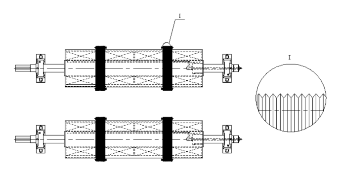
圖2齒形聚磁結構

磁路分布形式
設計特點
(1)磁場分布合理,磁感應強度大。如圖2所示,輥面采用齒形結構設計,磁場梯度大,細小鐵磁物質吸附效果好。磁場強度高且可調,磁場可達到23000GS以上。
(2)齒面設計,磁場梯度大,分選效果:如圖3所示,磁極兩兩相對形成閉合磁回路,背景磁場強度高;輥面采用齒形磁極,磁場梯度大,對細小鐵磁物質吸附效果好。
(3)給料方式是通過振動給料機實現物料在磁輥表面的均勻分布,通過控制放料板和擋條的間隙不僅能均勻給料,而且還能控制給料量的大小,保證料層厚度在合適范圍,確保最優磁選效果。
(4)干選工藝簡易高效:整個流水線低能耗,工藝簡單、生產成本低,無濕選過程中的脫水和烘干工藝。若以整線工藝考慮,節電80%以上。
(5)除鐵效率高:機械鐵除鐵率達99%,氧化鐵除鐵率50%以上。
(6)封閉式設計,預留吸塵口,環保清潔,避免使用現場的粉塵污染。
高純石英砂用干式強磁選機大幅降低了高純石英砂中鐵的含量,實現了高純石英砂礦的有效利用。
部分磁選機設備企業
☆贛州金環磁選設備有限公司
 
☆山東華特磁電科技股份有限公司
 
☆沈陽隆基電磁科技股份有限公司
 
☆濰坊追日磁電科技有限公司
 
☆濰坊國特礦山設備有限公司
 
☆濰坊恒基磁電機械有限公司
 
☆長沙礦冶研究院礦冶裝備公司
 
☆青州市晨光機械有限公司
 
☆中鋼集團安徽天源科技股份有限公司
 
☆岳陽大力神電磁機械有限公司
 
☆山東華新機電科技有限公司
 
☆湖南科美達電氣股份有限公司
 
☆北方重工集團有限公司
 
☆河南鄭州山川重工有限公司
 
參考文章:
周鑫.干式磁選機在非金屬礦磁選中的應用——干式對輥強磁選機
王九一.全球高純石英原料礦的資源分布與開發現狀
中國粉體網.盤點:我國磁選機企業一覽
(中國粉體網編輯整理/茜茜)
注:圖片非商業用途,存在侵權請告知刪除!

















