中國粉體網訊 自1978年改革開放以來,涂料工業一直以逐步增長的速度發展,從最初的年產量343585 t到2017年的2041萬t,整整翻了近60倍,且在2009年我國涂料產能超過美國,并連續10多年位居世界第一。
中國涂料工業40多年來的快速發展,帶動了涂料裝備的技術進步,而涂料裝備的技術進步,則促使涂料生產力大大提高。中國涂料工業協會副會長張衛中先生曾記述了涂料生產過程中樹脂生產、分散研磨、涂料包裝等設備40年來的發展變化。中國粉體網小編據此整理了其中的分散研磨設備也就是砂磨機在涂料領域的應用發展歷程。
改革開放40多年,縱觀分散研磨設備的發展,以砂磨機為例,其演變過程大致如下圖所示。

改革開放40年分散研磨設備演變過程(圖源:張衛中)
1979年,北京市油漆廠從瑞士進口了一臺15 L型號為KD-15 DYNO(戴諾)的砂磨機,當時的實驗數據表明,生產效率大概是立式砂磨機的2~9倍,對于難分散的物料尤其具有優勢。因國外原裝進口設備昂貴,改革開放初期除部分涂料國企能夠使用外,很難在大范圍內推廣開來。

KD-15的主要組成部分(圖源:原北京市油漆廠)
80年代的“六五”“七五”計劃期間,涂料行業在大力引進國外技術裝備等改革開放政策的指引下,有30多個企業從10多個國家和地區引進國外生產技術和裝備共50多項。在此期間,重慶化工機械廠生產出我國第一臺臥式砂磨機,后來臥式砂磨機技術傳播并發展于江蘇江陰和上海,與學習借鑒臺灣砂磨機而繁榮起來的珠三角砂磨機廠一并三足鼎立,在占據國內涂料產能近60%的長三角和珠三角的各大城市遍地開花。

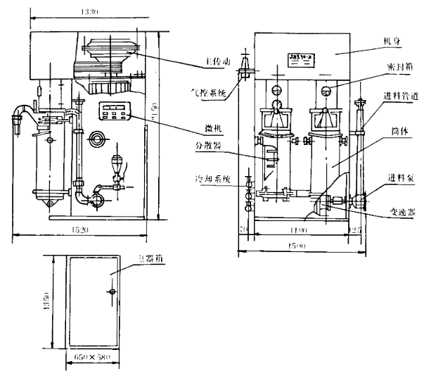
90年代某款砂磨機結構示意圖(圖源:原重慶化工機械廠)
臥式砂磨機可以看做是把立式砂磨機橫過來水平放置,其原理是主電動機通過三角皮帶帶動分散軸作高速運動,分散軸上的分散盤帶動研磨介質運動而產生摩擦和剪切力使物料得以研磨和分散。

臥式砂磨機結構簡圖(圖源:王佳慶)
與立式砂磨機相比,該設備采用了機械密封使之達到全密閉,從而消除了生產中溶劑揮發損失,減輕了空氣污染,另一方面由于防止了空氣進入工作筒體,避免了物料在生產過程中可能形成的干固結皮,保證了產品的質量。其次,該設備能夠克服重力對研磨介質的影響,大幅提高介質的填充率,使生產效率及研磨效果更為理想。另外,立式砂磨機的筒體材料多為普通鋼材,而臥式砂磨機一般可以選用多種材質,達到更為耐磨的目的。
90年代末新世紀初,一些涂料骨干企業,通過引進國外先進設備,大大提高了涂料的品質、生產效率與自動化水平。之后又有引進和國產的各式棒銷式砂磨機和籃式砂磨機等多種砂磨機在全國各地的涂料企業中投入生產。各種砂磨機早已取代了三輥磨和球磨機,成為涂料生產中最主要的、占壟斷地位的研磨分散設備。
隨著涂料行業不斷發展,一些裝備企業開始以國外先進裝備為目標,通過引進、消化、吸收,走上了一條自主創新、彎道超車的道路。特別是近10年來,相繼涌現出一批代表性企業。通過引進行業一流人才,投入大量人力、物力、財力,先后研發出大流量盤式、大流量棒銷和立式高流量珠磨機。研磨物料細度從50μm左右提升到10μm以下。甚至通過設備的進一步優化可實現研磨至納米級的細度要求。滿足了涂料生產高檔化、水性化的需求。
當我國發展成為全球涂料生產大國時,之前的發展模式和思路,以及裝備的質量已經不能滿足國內涂料企業的要求。為推動國內涂料裝備行業的健康發展,2009年,中國涂料工業協會在原化工部涂料裝備協作組的基礎上,成立了中國涂料工業協會涂料裝備分會,裝備分會成立以來,使我國涂料裝備水平進入了高速發展的快車道。
隨著技術的發展,以及對產品細度要求的不斷提高,對砂磨機結構性能、出料方式、密封形式等要求較高。要求高能量密度設計,以保證大流量下的研磨效率。臥式砂磨機出料分離系統也在不斷改進和完善,使得它所使用的研磨介質的尺寸越來越小。所以隨之而來的問題就是在使用較小研磨介質的同時還能夠保持較大流量。
近些年來,砂磨機技術快速發展,尤其是靜態出料、離心分離結構的機器,由于其優異的性能,得到了廣泛的應用。
動態出料結構:直縫篩圈和動靜刮刀組合式出料結構;出料篩圈不耐用易磨損,更換不便;動靜刮刀處易碎珠,且間隙較大,導致研磨細度無法提高;出料面積小,篩圈易堵塞。

臥式砂磨機動態出料結構示意圖
靜態出料結構:離心渦輪分離器和靜態環縫篩圈組合式出料結構;篩圈經久耐用不易磨損,更換方便,且篩圈間隙可做到0.1 mm,能使用更小的研磨介質,可研磨細度要求高的產品;出料面積大,不易堵塞,效率高。

臥式砂磨機靜態出料結構示意圖
靜態出料砂磨機采用:動態渦輪離心分離+出料篩圈裝置,研磨介質在離心力作用下被拋向轉子外圍,料漿在筒體內壓作用下,經過研磨介質縫隙,流經布置在轉子中心的出料篩網,順利流出。
特點:篩圈不易堵塞、不易磨損,取消了動靜分離環;篩圈采用梯形截面鋼絲纏繞環縫篩圈,出料面積大,與傳統砂磨機出料面積相比,靜態出料結構的出料面積提高了2.5倍以上,出料速度得到大幅提高,單位時間的產能提高;縫隙均勻,最小間隙可達到0.1 mm,研磨介質最小可0.2~0.3 mm,適合研磨細度要求高的納米級產品。這項出料分離裝置是砂磨機發展史上的重大技術突破。
圍繞“高效、節能、綠色、環保”新思路,我國涂料裝備行業實現了從品種單一、功能簡單、效率低下發展到產品多樣、功能齊全,再發展到實現裝備自動化、智能化,體現環保、安全與高效節能水平的全面提升。近年又大力推廣二級能效節能電機和變頻技術應用在砂磨機中,將PLC自動控制系統運用到涂料生產環節,極大地提高了生產效率,降低能耗,節約了人工成本,減少了污染物的排放,為中國涂料企業走向世界提供了新的發展契機。
資料來源:張衛中等:中國涂料裝備行業發展40年
(中國粉體網編輯整理/平安)
注:圖片非商業用途,存在侵權告知刪除!





















