中國粉體網訊 隨著電子設備向小型化和高性能方向快速發展,位于設備內部較小空間內的電子器件的散熱需求也越來越迫,因此,如何設置對電子器件散熱成為業內重要的課題之一。
相關技術中一般采用散熱器為電子器件散熱,散熱器通過緊固件與電子器件連接,在電子器件與散熱器之間還會設置導熱墊,導熱墊中通常會添加一些離散分布的導熱填料,為了進一步提高導熱墊的導熱效率,需要在導熱墊中添加更多的導熱填料,以降低導熱墊的熱阻,然而,隨著導熱填料在導熱墊中的體積占比變大,導熱墊的硬度會增大,這樣導熱墊在散熱器壓縮作用下,就會對電子器件施加較大的壓力,容易損壞電子器件。

為解決相關技術中導熱墊不能夠同時兼顧提高導熱系數和降低被壓縮時對電子器件產生的壓力的問題,榮耀公司提供了一種導熱墊及其制作方法。
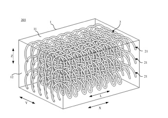
該導熱墊包括墊體,以及嵌入所述墊體內的導熱框架,墊體的厚度方向以及垂直于所述墊體的厚度方向的方向上呈連續狀,墊體被壓縮時,所述導熱框架可在所述墊體的厚度方向上發生變形。

該導熱墊涉及一些重要的導熱填料,在實施例中,該方法列舉了Ag、Cu、Al、ZnO、碳纖維等填料。

這種技術方案提高了導熱墊整體的導熱系數,降低了導熱墊整體的熱阻,提高了電子器件的散熱效率,從而使得電子器件的散熱更加充分;同時,導熱墊被壓縮時自身可以發生形變,能夠降低導熱墊的硬度,降低導熱墊被壓縮時產生的反作用力,使導熱墊對電子器件的壓力變小,有效的降低電子器件損壞失效的風險。
(中國粉體網編輯整理/山川)
注:圖片非商業用途,存在侵權告知刪除




















