中國粉體網訊 2024年4月15日,連云港市生態環境局對連云港弘濤石英制品有限公司年產5800噸石英砂技改項目環境影響受理情況進行了公示。
據了解,連云港弘濤石英制品有限公司成立于2005年,位于江蘇省連云港市東海縣平明鎮工業集中區,現有“年產5800噸石英砂生產項目”于2005年11月15日取得東海縣環保行政部門審批意見,現有項目環評中生產工藝為:石英砂原料-挑選-粉碎-篩分-純水水洗-脫水-烘干-冷卻-篩分-磁選-成品),于2013年9月投入生產運營(當時根據市場需求項目實際生產工藝調整為:石英砂原料-挑選-粉碎-篩分-成品),并于2014年1月8日通過環保“三同時”驗收。
2020年7月,弘濤公司對原有“年產5800噸石英砂生產項目(石英砂原料-挑選-粉碎-篩分-成品)”進行技術升級改造,增加“浮選一清洗一烘干一二次篩分一磁選”等工藝,未涉及酸洗工藝,年產5800噸石英砂產能不變。該技改項目于2021年1月8日取得環評批復。但由于疫情原因,該技改項目一直未建設。
項目產品方案一覽表

現隨著時代發展,市場對石英砂的產品要求更高,該公司現有的生產工藝不能滿足客戶對產品的要求。為生產純度更高的石英砂,弘濤公司擬投資6000萬元對現有生產線進行技術升級改造,主要增加焙燒、水淬、酸洗、水洗、浮選等工藝,即新購置鄂破機、焙燒爐、制砂機、反應釜等國產設備,新增建筑面積960 平方米。
項目主要原輔材料消耗表

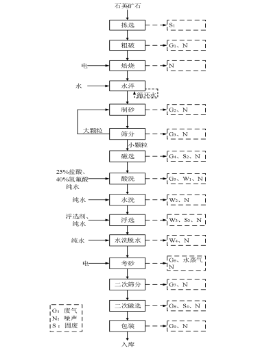
該項目以純度為99.8%的石英礦石為原料,生產高純石英砂,但技改后的具體純度是多少,尚未透露。技改后工藝為:石英石→粗破→焙燒→水淬→制砂一篩分→磁選→酸洗(在反應釜中酸洗)→水洗→浮選脫水→烤砂→篩分→磁選→包裝入庫:同時對現有公用工程進行適應性技術改造,建設污水處理站;生產廢水經過處理達標后接入工業污水處理廠。該項目建成后可形成年產5800噸石英砂的生產能力,產能不變。
現有項目工藝流程圖

本次技改項目工藝流程圖

來源:連云港市生態環境局
(中國粉體網編輯整理/九思)
注:圖片非商業用途,存在侵權請告知刪除!



















