中國粉體網訊 近日,國家知識產權局信息顯示,華為技術有限公司一項名為“一種銅金剛石散熱基板”的專利正式獲得授權(授權公告號CN223110366U),申請日期為2024年7月,涉及散熱基板技術領域,旨在通過材料與結構創新突破高功率器件的散熱瓶頸。

專利提供了一種銅金剛石散熱基板,包括銅金剛石復合層、第一金屬層、第二金屬層,銅金剛石復合層包括銅金剛石材料以及金屬框,銅金剛石材料設置于金屬框的通孔中,第一金屬層設置于銅金剛石復合層的上層,第二金屬層設置于銅金剛石復合層的下層,其特征在于,第一金屬層通過第一焊料層與銅金剛石復合層固定連接,第二金屬層通過第二焊料層與銅金剛石復合層固定連接。

傳統工藝采用預壓燒結制備的同類結構,普遍存在界面結合強度不足的問題,易導致散熱效能衰減或結構損壞。而華為的設計通過兩大優化解決這一痛點:一方面,金屬框結構對金剛石顆粒形成有效封裝,避免顆粒脫落或位移;另一方面,焊料層形成的冶金結合強化了界面連接,既保留了銅的高導熱特性和金剛石的低熱膨脹優勢,又顯著提升了整體結構的機械穩定性。
華為金剛石散熱領域的進階之旅
近年來,華為在金剛石散熱這一領域持續發力,不斷斬獲重要成果,取得了顯著的進展。
2023年3月,華為用于芯片散熱的兩項復合導熱材料專利公布。其中一個技術方案以金剛石顆粒材料為主要散熱材料,涉及復合導熱材料的電子設備、金剛石基導熱填料及其制備方法。所述復合導熱材料的導熱系數高且維持良好可應用性。
2023年11月,華為與哈爾濱工業大學聯合申請“基于硅和金剛石的三維集成芯片混合鍵合方法”專利,通過Cu/SiO2混合鍵合技術將硅基與金剛石襯底進行三維集成。該技術優化了界面結合強度,解決了傳統硅基材料熱導率低的問題,為高功率芯片構建高效散熱通道,助力提升器件可靠性。
2024年2月,華為與廈門大學、廈門云天團隊合作,在先進封裝玻璃轉接板集成芯片-金剛石散熱技術領域取得突破性進展。這項研究將金剛石低溫鍵合與玻璃轉接板技術相結合,首次實現了將多晶金剛石襯底集成到玻璃轉接板封裝芯片的背面。

(1)集成金剛石-芯片-玻璃轉接板(DoCoG)的結構示意圖,(2)DoCoG封裝熱測試配置照片,圖源:Heterogeneous Integration of Diamond-on-Chip-on-Glass Interposer for Efficient Thermal Management
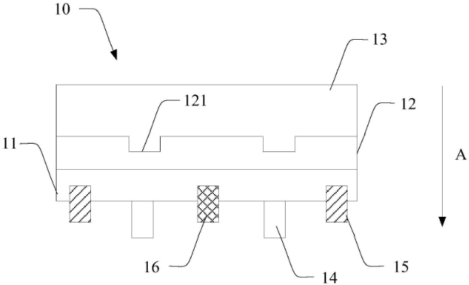
2024年12月,華為技術有限公司公布一項名為“一種半導體器件及其制作方法、集成電路、電子設備”的發明專利。通過增加金剛石散熱層與鈍化層的接觸面積,改善金剛石散熱層與鈍化層之間的結合力,并且減小金剛石散熱層與柵極之間的熱擴散距離,提高半導體器件的散熱效率。

10-半導體器件、11-第一外延層、12-鈍化層、13-金剛石散熱層、14-柵極、15-源極、16-漏極、121-凹槽
華為在金剛石散熱這一領域持續發力,從鍵合技術、復合導熱材料到芯片集成結構設計等多個方面進行創新。通過與高校、科研團隊的緊密合作,成功解決了諸多技術難題,不斷提升散熱效率。隨著技術的進一步成熟和應用,相信金剛石將在半導體散熱領域發揮越來越重要的作用,為手機、電腦等產品的散熱問題提供更為高效的解決方案。
參考來源:國家知識產權局、Flink未來產鏈
(中國粉體網編輯整理/石語)
注:圖片非商業用途,存在侵權請告知刪除!



















