
山東華特磁電集團股份有限公司
白金會員
已認證

山東華特磁電集團股份有限公司
白金會員
已認證
在礦物加工過程中,碎磨環節占據重要地位,所以高壓輥磨機的應用也受到越來越多的重視。但因為其應用具有一定的局限性,所以在行業的推廣受到一定限制。近年來,我國經濟持續快速發展,對于礦產資源的需求量也越來越大,因此,需要對高壓輥磨機進行深入地研究和創新,以提升其在礦物加工工程中的使用效果。

高壓輥磨機是以傳統形式的磨機技術為基礎,采用全自動控制液壓壓力的形式制造而成,其能夠在高壓狀態下促使礦物顆粒聚集,并實施極高壓力壓縮處理,礦物顆粒受到壓力作用影響,材料間的縫隙持續減小,同時壓力持續上升,直至一定水平之后,被輥壓的材料即可發生破碎。在針對材料進行高壓輥磨時,因為混合方式不同,所以反方向運動有利于提高碾壓效率。 高壓輥磨機主要由機架和高壓輥組成,且構成其動力以及壓力的來源。高壓輥磨機使用時,針對不同的材料應采用不同的壓力進行處理。壓力調節時,液壓缸可沿導槽進行移動。工作時,高壓輥通過減速器驅動,物料逐漸被加工成為壓實塊。相對于傳統磨機來說,高壓輥磨機的擠壓速率更加穩定,但是實際速度相對較低。若將運轉速度調節至較高狀態,材料易出現滑動情況,會影響破碎效果和高壓輥使用壽命。
常用鐵礦加工工藝:

三 高壓輥磨機在新疆鈦鐵礦的使用

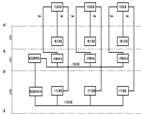
華特磁電研制的HPGM1480高壓輥磨機,在新疆某礦業公司的應用場景。




最新動態
更多
虛擬號將在 秒后失效
使用微信掃碼撥號