中國粉體網訊  江蘇密友粉體新裝備制造有限公司(以下簡稱“密友”)是專業開發生產粉體裝備制造成套化、高溫循環氮氣保護氣流粉碎生產線、容器攪拌密封一體化、鋰電池高溫包覆釜、納米潤滑母液油脂系列產品的高新技術企業。2019年底,密友新一代沖突式氣流粉碎機榮耀上市。
 
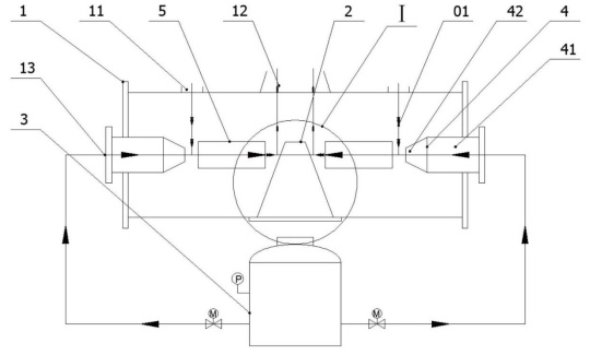
新一代沖突式氣流粉碎機
該機申請發明專利號:20191081114.3、201910811105.8,具有以下特點:
該機適用性強 ,根據易燃易爆、易氧化物料性質,可選擇與其相適應的惰性氣體作為粉碎介質。用氮氣體循環保護,使稀土、金屬等物料不氧化,不會燃燒。
粉碎效率高,不會過粉碎;分級精度高,粒度分布窄。如粉碎稀土類材料的粒徑在d50=2.5~4.5μm范圍任意選用,其中≦1.0μm不超過2%,確保成品優良性能。
采用陶瓷等耐磨材料,確保稀土、金屬等成品材料無污染、高純度。
控制系統氧含量在安全標準之內,惰性氣體可循環使用,消耗極小。
在沖突式氣流粉碎結束后,機內粉碎區無殘留死角,可全部粉碎成最終成品。
設備容易拆卸,清洗方便、干凈。
采用先進的自動化控制,實現了全自動安全控制。
簡而言之,新一代沖突式氣流粉碎機具有眾多優勢,廣泛適用于新材料、碳化硼、陶瓷、二氧化硅、有色金屬、稀土、釹鐵硼 、磨料等領域。
日前,中國粉體網從國家知識產權局獲悉,密友沖突式氣流粉碎機再獲進展,其發明專利申請“一種用于沖擊式氣流粉碎機的粉碎裝置”通過并公布。

據悉,本發明公開了一種用于沖擊式氣流粉碎機的粉碎裝置,包括:粉碎室、靶件及氣源;其中粉碎室包括進料口、出料口及進氣口;出料口設在粉碎室的頂部;進料口設在粉碎室的頂部,且位于出料口的外側;進氣口設在粉碎室的側面;靶件用于接受物料的撞擊并粉碎物料;氣源為物料撞擊靶件供應壓縮氣體。本發明通過在粉碎室內部設置靶件,在壓縮空氣的帶動下,物料在相互撞擊、摩擦粉碎的同時,再沖向靶件進行再次粉碎,顯著提升了超細粉及微細粉體的單位時間產量,且粉碎的物料形狀規整。
注:信息來源江蘇密友、國家知識產權局。
(中國粉體網編輯整理/黑金)
圖片非商業用途,存在侵權告知刪除!





















